-
共享电池组 苹果申请自动驾驶汽车专利
来源:
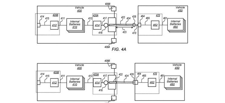
   最近一段时间苹果公司连续提交多个关于汽车的专利申请,苹果造车的消息似乎变得更扑朔迷离了。日前,苹果公司向美国专利局苹果向美国专利商标局提交了一系列自动驾驶技术专利,该系列专利可让多辆自动驾驶汽车通过“连接臂”共享电池组,从而达到提高效率的目的。
  

  

   苹果公司将这一系列自动驾驶专利命名为“Peloton”,该专利通过“连接臂”连接自动驾驶车辆,让这些车辆形成一个车队,并共享电池组。在Peloton团队中,将有一辆车是领头车,可以高效地控制在其后面连接的车,对于车队中其他车辆来说,它们可以保持速度同时减少燃料的使用。苹果表示,其Peloton技术可用于两辆自动驾驶汽车,但是车辆越多,分享的电池功率就越高,风阻得以分散,车队的效率就会更高。
   相互连接的自动驾驶车队会有一个问题,就是不是Peloton团队中的每辆车都会前往同一个目的地。苹果对此有一个解决方案,让车辆之间可以互相通信,并根据每辆车到目的地的距离来规划组织Peloton团队。
- 兰博基尼
- 兰博基尼(Automobili Lamborghini S.p.A.)是一家意大利汽车生产商,全球顶级跑车制造商及欧洲奢侈品标志之一,公司坐落于意大利圣亚加塔·波隆尼(Sant'Agata Bolognese),由费鲁吉欧·兰博基尼在1963年创立。主要车型有Aventador、Huracan、雷文顿Reventon、盖拉多Gallardo、蝙蝠Murcielago等。
- 劳斯莱斯
- 劳斯莱斯(Rolls-Royce)是世界顶级的超豪华轿车厂商,1906年成立于英国,公司创始人为Frederick Henry Royce(亨利·莱斯)和Charles Stewart Rolls(查理·劳斯)
- 宾利
- 宾利(BentleyMotors Limited)是一家举世闻名的超豪华汽车制造商,总部位于英国克鲁。1919年,W.O.宾利先生创办了宾利汽车公司
- 宝马
- 宝马(BMW)是享誉世界的豪华汽车品牌。宝马的车系有1系、2系、3系、4系、5系、6系、7系、i系、X1、X2、X3、X4、X5、X6、X7、Z4等几个系列,还有在各系基础上进行改进的M系(宝马官方的高性能改装部门)。宝马公司创建于1916年,总部设在德国慕尼黑。BMW的蓝白标志宝马总部所在地巴伐利亚州州旗的颜色
- 法拉利
- 法拉利是举世闻名的赛车和运动跑车的生产厂家,总部位于意大利马拉内罗(Maranello),由恩佐·法拉利(Enzo Ferrari)于1947年创办,主要制造一级方程式赛车、赛车及高性能跑车。法拉利品牌法拉利所使用的传奇标志有着非同寻常的起源
- 特斯拉
- 特斯拉(Tesla),是一家美国电动车及能源公司,产销电动车、太阳能板、及储能设备。 总部位于美国加利福尼亚州硅谷帕洛阿尔托(Palo Alto)。 特斯拉第一款汽车产品Roadster发布于2008年,为一款两门运动型跑车
- 奔驰
- 梅赛德斯-奔驰奔驰,德国百年汽车品牌,汽车文明的先驱者与引领者,被认为是最成功的高档汽车品牌之一,其登峰造极的技术水平、精湛过硬的质量标准、推陈出新的创新能力、以及一系列经典轿跑车款式令人称道,车系有A级、B级、C级、CL级、CLK级、E级、S级、SL级、SLC级、SLK级、SLR级、G级、GL级、GLK级、M级、R级、AMG车系等。
- 保时捷
- 保时捷(Porsche)是一家德国汽车生产商,又叫波尔舍,总部位于德国斯图加特,是欧美汽车的主要代表。主要车型有911、Boxster、Cayman、Panamera、Cayenne、Macan。1931年,保时捷成立于斯图加特,以生产高级跑车闻名于世界车坛













