-
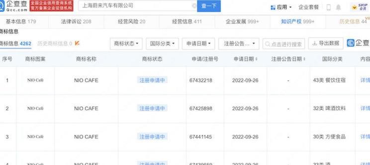
蔚来正在申请注册4枚“NIO CAFE”商标
来源:
   近日,网络上显示蔚来正在注册4枚“NIO CAFE”的商标,国际分类为餐饮住宿、啤酒饮料等。此次注册商标,不知道是否意味着蔚来将正式进军咖啡界,结合蔚来的品牌定位、品牌调性来看,蔚来做咖啡好像也是合理的,更多相关事宜仍需等待官方信息发布。
  

   有关数据显示,国内2022年新增咖啡相关注册企业1.9万家,同比增长26.6%。某咨询机构的数据也显示,2021年中国咖啡市场规模约为3817亿元,消费者突破3亿人次,预计2025年中国市场规模将达10000亿元。不难看出,国内的咖啡行业确实处于潮气蓬勃的发展期,朋友们也可以在评论区聊一聊,蔚来是不是也想吃一波咖啡行业的红利呢?
  

   熟悉蔚来的朋友知道,蔚来的牛屋有咖啡服务,如果蔚来想在咖啡这条路上再进一步的话,那对于牛屋或者蔚来的用户而言,这也是一次服务体系的升级。如果对外,以蔚来的调性来说,NIO CAFE可能要对标星巴克等高端品牌了,你们觉得呢?
- 兰博基尼
- 兰博基尼(Automobili Lamborghini S.p.A.)是一家意大利汽车生产商,全球顶级跑车制造商及欧洲奢侈品标志之一,公司坐落于意大利圣亚加塔·波隆尼(Sant'Agata Bolognese),由费鲁吉欧·兰博基尼在1963年创立。主要车型有Aventador、Huracan、雷文顿Reventon、盖拉多Gallardo、蝙蝠Murcielago等。
- 劳斯莱斯
- 劳斯莱斯(Rolls-Royce)是世界顶级的超豪华轿车厂商,1906年成立于英国,公司创始人为Frederick Henry Royce(亨利·莱斯)和Charles Stewart Rolls(查理·劳斯)
- 宾利
- 宾利(BentleyMotors Limited)是一家举世闻名的超豪华汽车制造商,总部位于英国克鲁。1919年,W.O.宾利先生创办了宾利汽车公司
- 宝马
- 宝马(BMW)是享誉世界的豪华汽车品牌。宝马的车系有1系、2系、3系、4系、5系、6系、7系、i系、X1、X2、X3、X4、X5、X6、X7、Z4等几个系列,还有在各系基础上进行改进的M系(宝马官方的高性能改装部门)。宝马公司创建于1916年,总部设在德国慕尼黑。BMW的蓝白标志宝马总部所在地巴伐利亚州州旗的颜色
- 法拉利
- 法拉利是举世闻名的赛车和运动跑车的生产厂家,总部位于意大利马拉内罗(Maranello),由恩佐·法拉利(Enzo Ferrari)于1947年创办,主要制造一级方程式赛车、赛车及高性能跑车。法拉利品牌法拉利所使用的传奇标志有着非同寻常的起源
- 特斯拉
- 特斯拉(Tesla),是一家美国电动车及能源公司,产销电动车、太阳能板、及储能设备。 总部位于美国加利福尼亚州硅谷帕洛阿尔托(Palo Alto)。 特斯拉第一款汽车产品Roadster发布于2008年,为一款两门运动型跑车
- 奔驰
- 梅赛德斯-奔驰奔驰,德国百年汽车品牌,汽车文明的先驱者与引领者,被认为是最成功的高档汽车品牌之一,其登峰造极的技术水平、精湛过硬的质量标准、推陈出新的创新能力、以及一系列经典轿跑车款式令人称道,车系有A级、B级、C级、CL级、CLK级、E级、S级、SL级、SLC级、SLK级、SLR级、G级、GL级、GLK级、M级、R级、AMG车系等。
- 保时捷
- 保时捷(Porsche)是一家德国汽车生产商,又叫波尔舍,总部位于德国斯图加特,是欧美汽车的主要代表。主要车型有911、Boxster、Cayman、Panamera、Cayenne、Macan。1931年,保时捷成立于斯图加特,以生产高级跑车闻名于世界车坛













