-
黑科技来临?本田推活塞可变行程技术
来源:
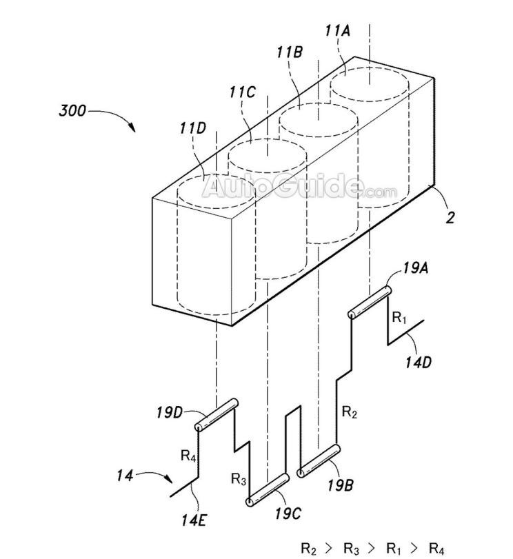
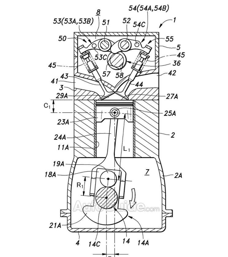
   日前据外媒报道,本田注册了一个新发动机专利,其最大的特点是具有活塞可变行程,使得每一个汽缸能够有着不同的工作表现。
  

   按照此前的发动机工作原理来看,假设这是一台2.0L四缸发动机,那么它的每一个汽缸大小应该都是500cc,如果要使汽缸能够按需工作的话,那么根据汽缸工作的个数,只有500cc、1000cc、1500cc以及2000cc这四种情况。
   而新的发动机技术能够通过曲轴半径的变化让每一个汽缸活塞拥有不同的行程,这样就使得每一个汽缸在不同的“排量”下运行,据悉其将提供多达15种不同的组合,换句话说,同样的这台2.0L四缸发动机如果应用该技术那么则有15种的不同表现。
  

  

   从新专利的描述来看,其可以在直列两缸、三缸、四缸以及V6发动机上应用。目前本田方面还没有公布这项技术的更多细节,但外媒预测其将主要提高燃油经济性,或许不久的将来,我们能够迎来该系统的量产。
   更多阅读:
   本田规划:冠道推兄弟车型/CDX 7月上市 //www.autohome.com.cn/news/201604/887956.html
- 兰博基尼
- 兰博基尼(Automobili Lamborghini S.p.A.)是一家意大利汽车生产商,全球顶级跑车制造商及欧洲奢侈品标志之一,公司坐落于意大利圣亚加塔·波隆尼(Sant'Agata Bolognese),由费鲁吉欧·兰博基尼在1963年创立。主要车型有Aventador、Huracan、雷文顿Reventon、盖拉多Gallardo、蝙蝠Murcielago等。
- 劳斯莱斯
- 劳斯莱斯(Rolls-Royce)是世界顶级的超豪华轿车厂商,1906年成立于英国,公司创始人为Frederick Henry Royce(亨利·莱斯)和Charles Stewart Rolls(查理·劳斯)
- 宾利
- 宾利(BentleyMotors Limited)是一家举世闻名的超豪华汽车制造商,总部位于英国克鲁。1919年,W.O.宾利先生创办了宾利汽车公司
- 宝马
- 宝马(BMW)是享誉世界的豪华汽车品牌。宝马的车系有1系、2系、3系、4系、5系、6系、7系、i系、X1、X2、X3、X4、X5、X6、X7、Z4等几个系列,还有在各系基础上进行改进的M系(宝马官方的高性能改装部门)。宝马公司创建于1916年,总部设在德国慕尼黑。BMW的蓝白标志宝马总部所在地巴伐利亚州州旗的颜色
- 法拉利
- 法拉利是举世闻名的赛车和运动跑车的生产厂家,总部位于意大利马拉内罗(Maranello),由恩佐·法拉利(Enzo Ferrari)于1947年创办,主要制造一级方程式赛车、赛车及高性能跑车。法拉利品牌法拉利所使用的传奇标志有着非同寻常的起源
- 特斯拉
- 特斯拉(Tesla),是一家美国电动车及能源公司,产销电动车、太阳能板、及储能设备。 总部位于美国加利福尼亚州硅谷帕洛阿尔托(Palo Alto)。 特斯拉第一款汽车产品Roadster发布于2008年,为一款两门运动型跑车
- 奔驰
- 梅赛德斯-奔驰奔驰,德国百年汽车品牌,汽车文明的先驱者与引领者,被认为是最成功的高档汽车品牌之一,其登峰造极的技术水平、精湛过硬的质量标准、推陈出新的创新能力、以及一系列经典轿跑车款式令人称道,车系有A级、B级、C级、CL级、CLK级、E级、S级、SL级、SLC级、SLK级、SLR级、G级、GL级、GLK级、M级、R级、AMG车系等。
- 保时捷
- 保时捷(Porsche)是一家德国汽车生产商,又叫波尔舍,总部位于德国斯图加特,是欧美汽车的主要代表。主要车型有911、Boxster、Cayman、Panamera、Cayenne、Macan。1931年,保时捷成立于斯图加特,以生产高级跑车闻名于世界车坛













