-
苹果获新专利 用车载摄像头解决A柱盲区
来源:
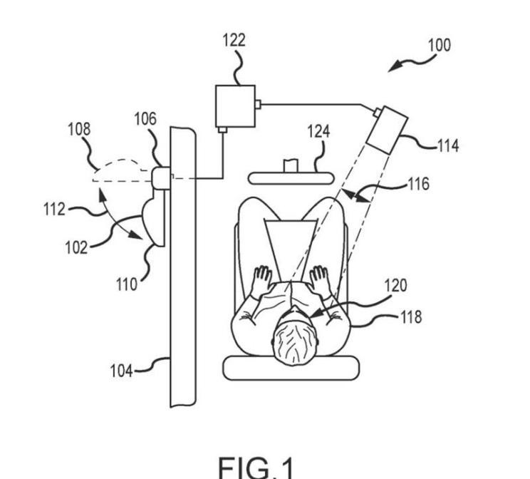
   如何有效避免驾驶员因视线盲区而造成的交通意外?据外媒报道,近日,苹果公司获得了一项新的专利。通过摄像头将周围环境记录下来,并且同步投射到车窗或挡风玻璃上,让驾驶员能够看到被A柱阻挡的环境,消除汽车的盲区。
  

   除此之外,安装在挡风玻璃上的摄像头还可以对驾驶员的面部进行识别,检测驾驶员的面部表情,通过识别驾驶员的面部表情,车辆的后视镜会在合适的时候缩回或伸出。
  

   此前曾有一位名叫Alaina Gassler的14岁小女孩发明了一种相似的办法。她的解决办法是,在汽车A柱外部增加一个摄像头,然后把画面投射到A柱内部,使A柱“透明化”。虽然Alaina Gassler方法与苹果专利类似,但后者专利申请的时间是2016年,且技术更为复杂,同时对于车窗也有较高要求。
  

   据称,苹果公司的这项专利既可以用于普通驾驶也可以用于自动驾驶,不过,这项专利究竟能否会顺利出现在苹果汽车上,仍有待观察。
- 兰博基尼
- 兰博基尼(Automobili Lamborghini S.p.A.)是一家意大利汽车生产商,全球顶级跑车制造商及欧洲奢侈品标志之一,公司坐落于意大利圣亚加塔·波隆尼(Sant'Agata Bolognese),由费鲁吉欧·兰博基尼在1963年创立。主要车型有Aventador、Huracan、雷文顿Reventon、盖拉多Gallardo、蝙蝠Murcielago等。
- 劳斯莱斯
- 劳斯莱斯(Rolls-Royce)是世界顶级的超豪华轿车厂商,1906年成立于英国,公司创始人为Frederick Henry Royce(亨利·莱斯)和Charles Stewart Rolls(查理·劳斯)
- 宾利
- 宾利(BentleyMotors Limited)是一家举世闻名的超豪华汽车制造商,总部位于英国克鲁。1919年,W.O.宾利先生创办了宾利汽车公司
- 宝马
- 宝马(BMW)是享誉世界的豪华汽车品牌。宝马的车系有1系、2系、3系、4系、5系、6系、7系、i系、X1、X2、X3、X4、X5、X6、X7、Z4等几个系列,还有在各系基础上进行改进的M系(宝马官方的高性能改装部门)。宝马公司创建于1916年,总部设在德国慕尼黑。BMW的蓝白标志宝马总部所在地巴伐利亚州州旗的颜色
- 法拉利
- 法拉利是举世闻名的赛车和运动跑车的生产厂家,总部位于意大利马拉内罗(Maranello),由恩佐·法拉利(Enzo Ferrari)于1947年创办,主要制造一级方程式赛车、赛车及高性能跑车。法拉利品牌法拉利所使用的传奇标志有着非同寻常的起源
- 特斯拉
- 特斯拉(Tesla),是一家美国电动车及能源公司,产销电动车、太阳能板、及储能设备。 总部位于美国加利福尼亚州硅谷帕洛阿尔托(Palo Alto)。 特斯拉第一款汽车产品Roadster发布于2008年,为一款两门运动型跑车
- 奔驰
- 梅赛德斯-奔驰奔驰,德国百年汽车品牌,汽车文明的先驱者与引领者,被认为是最成功的高档汽车品牌之一,其登峰造极的技术水平、精湛过硬的质量标准、推陈出新的创新能力、以及一系列经典轿跑车款式令人称道,车系有A级、B级、C级、CL级、CLK级、E级、S级、SL级、SLC级、SLK级、SLR级、G级、GL级、GLK级、M级、R级、AMG车系等。
- 保时捷
- 保时捷(Porsche)是一家德国汽车生产商,又叫波尔舍,总部位于德国斯图加特,是欧美汽车的主要代表。主要车型有911、Boxster、Cayman、Panamera、Cayenne、Macan。1931年,保时捷成立于斯图加特,以生产高级跑车闻名于世界车坛













